Search
Most searched
Back

OZU-082

OZU-082

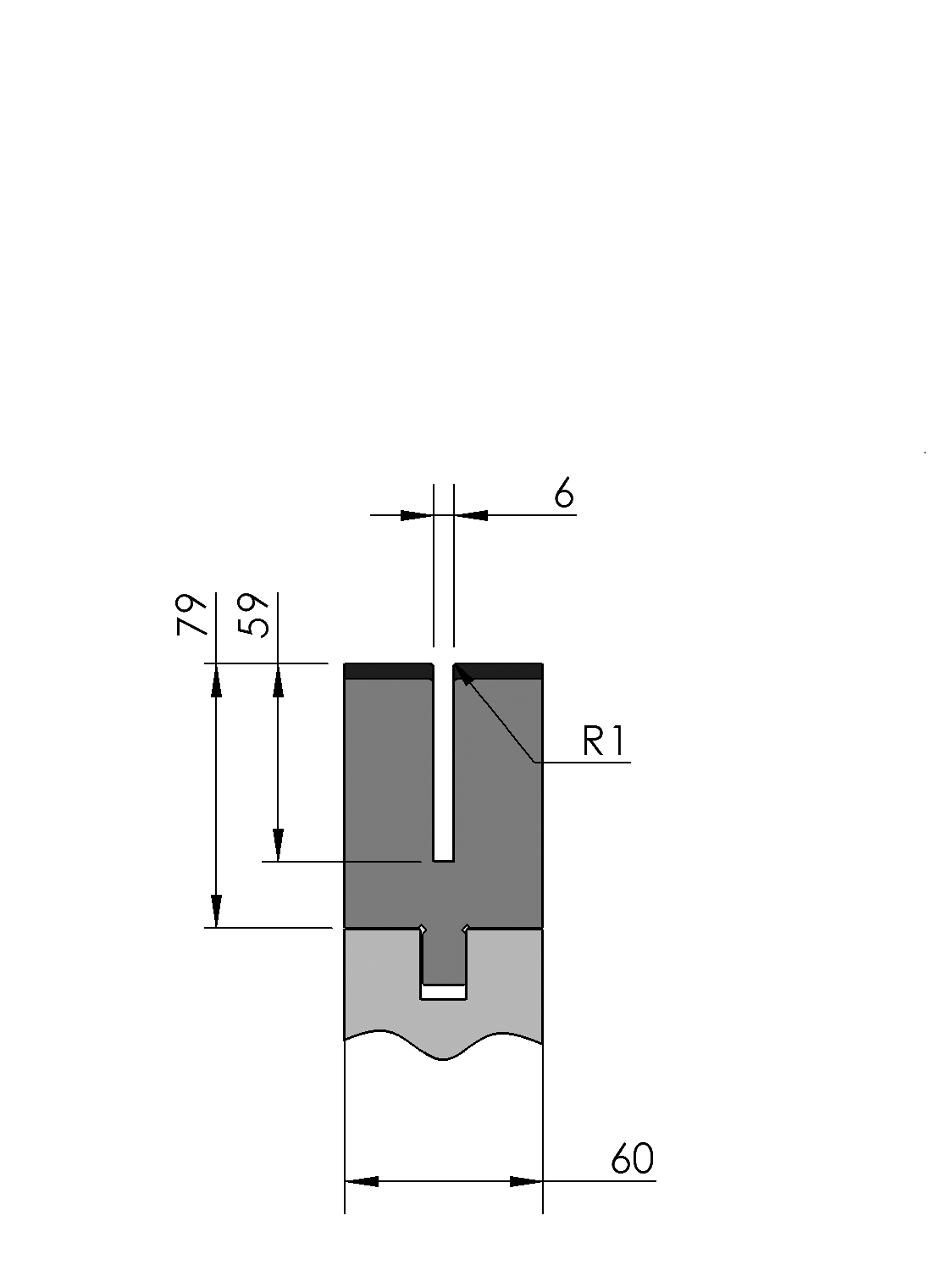
New Standard Premium Bottom Tool
  • Working height = 79mm
  • U-opening = 6x59mm
  • Radius = 1mm
  • CNC-Deephardened® (≥ 4mm / 56-60HRC)
  • Max. Belastung = 50ton/m

Description

New Standard Premium bottom tool Working height=79mm, U-opening=6x59mm (BxD), Bending radius=1mm, precision ground and CNC-Deephardened® (at least 4mm / 56-60HRc), Material=CR-MO
Max. load = 50ton/m.

Scan DM-code with your Smart Tooling App

Use the WILA Smart Tooling App to scan the DM-code for more information.

Downloads

Thank you for your interest!

Please leave your email address and we'll send you a download link straight away. Or register for MyWILA and get immediate access to all WILA online content.

Guest download Sign in
Already have an account? Sign in