Search
Most searched
Back

DDU-001

DDU-001

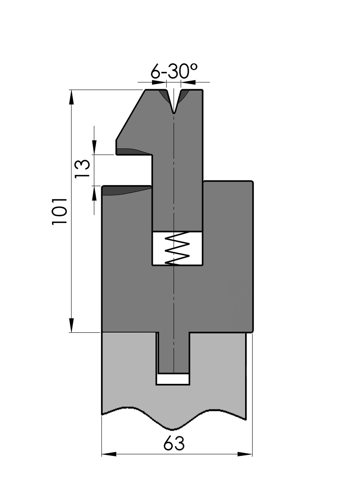
New Standard Flattening Tool
  • New Standard flattening tool
  • Working Height H closed = 88mm
  • Width W = 63mm
  • max.load: 60ton/m

Description

New Standard flattening tool
, H closed=88mm, B=63mm, existing of:
Flattening part (upper) provided with V=6mm/30°, Ri=1mm + flattening surface CNC-Deephardened® (at least 4mm /54-56HRc), mat.: C45;
Guide part (lower) provided with OZU-adaptation B=13.00mm, spring action, stroke=13mm, flattening surface CNC-Deephardened® (at least 4mm / 56-60HRc)weight: 37.8kg/m, max.load: 60ton/m.

Downloads

Thank you for your interest!

Please leave your email address and we'll send you a download link straight away. Or register for MyWILA and get immediate access to all WILA online content.

Guest download Sign in
Already have an account? Sign in