Search
Most searched
Back

BIU-037 ATC

BIU-037 ATC

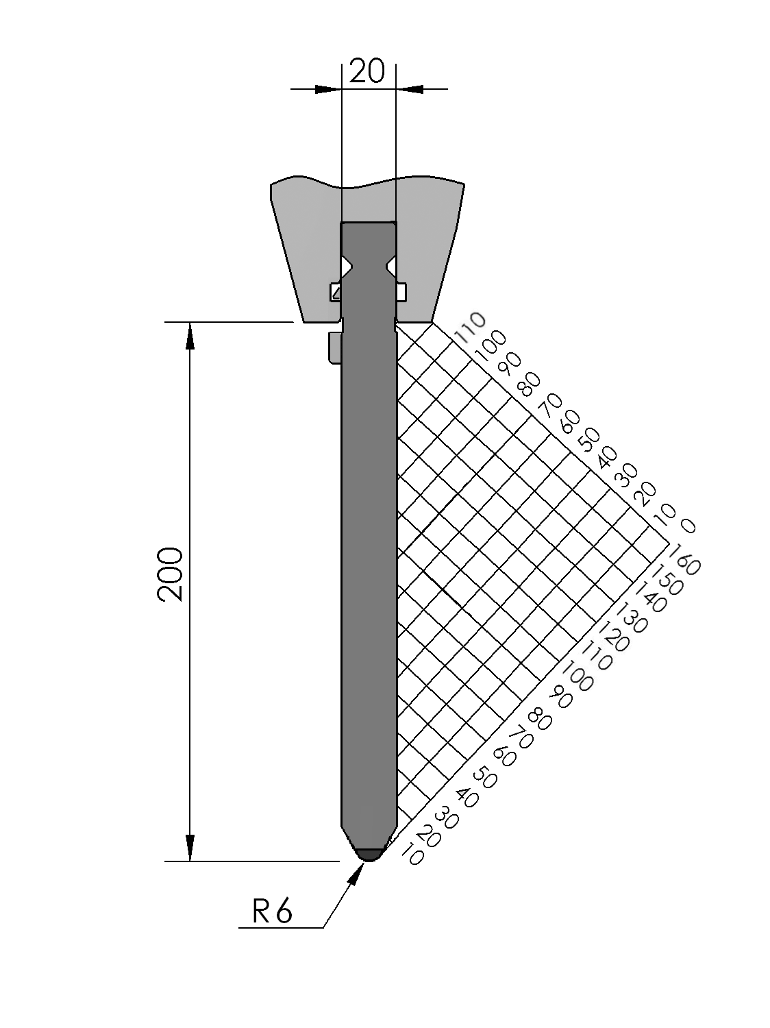
New Standard Premium Top Tool ATC
  • Working height H = 200mm
  • Tip angle α = 60°
  • Radius R = 6mm
  • CNC-Deephardened® (≥ 4mm / 56-60HRC)
  • Max. load = 160ton/m
  • Provided with ATC-adapter

Description

New Standard Premium top tool provided with ATC-adapter, with Working height H=200mm, α=60°, Radius=6mm CNC-Deephardened® (at least 4mm / 56-60HRc), Material=CR-MO, Max. load=160ton/m. Parts <12.5kg provided with Safety-Clicks™, which allows you to change the tooling vertically; all other parts provided with fixed safety pins, which only allows you to change the tooling horizontally.

Downloads

Thank you for your interest!

Please leave your email address and we'll send you a download link straight away. Or register for MyWILA and get immediate access to all WILA online content.

Guest download Sign in
Already have an account? Sign in