Plaatmateriaal buigen in verschillende hoeken met gebruik van een beperkt aantal gereedschappen.
Het buigen van plaatmateriaal door de plaat tussen de stempel en de matrijs op te sluiten.
WILA's gereedschapsoplossingen voor het realiseren van kortere flenslengtes.
Vermijd vervormingen bij buigen in de buurt van uitsparingen.
Hoe om te gaan met aanladen bij het kanten van gegalvaniseerd plaatmateriaal, aluminium of RVS.
Bij het buigen van dozen moet u vooraf nadenken over uw keuze van kantpers en gereedschap.
Gereedschapssystemen en gereedschap voor het buigen van dikker of hoogsterktestaal.
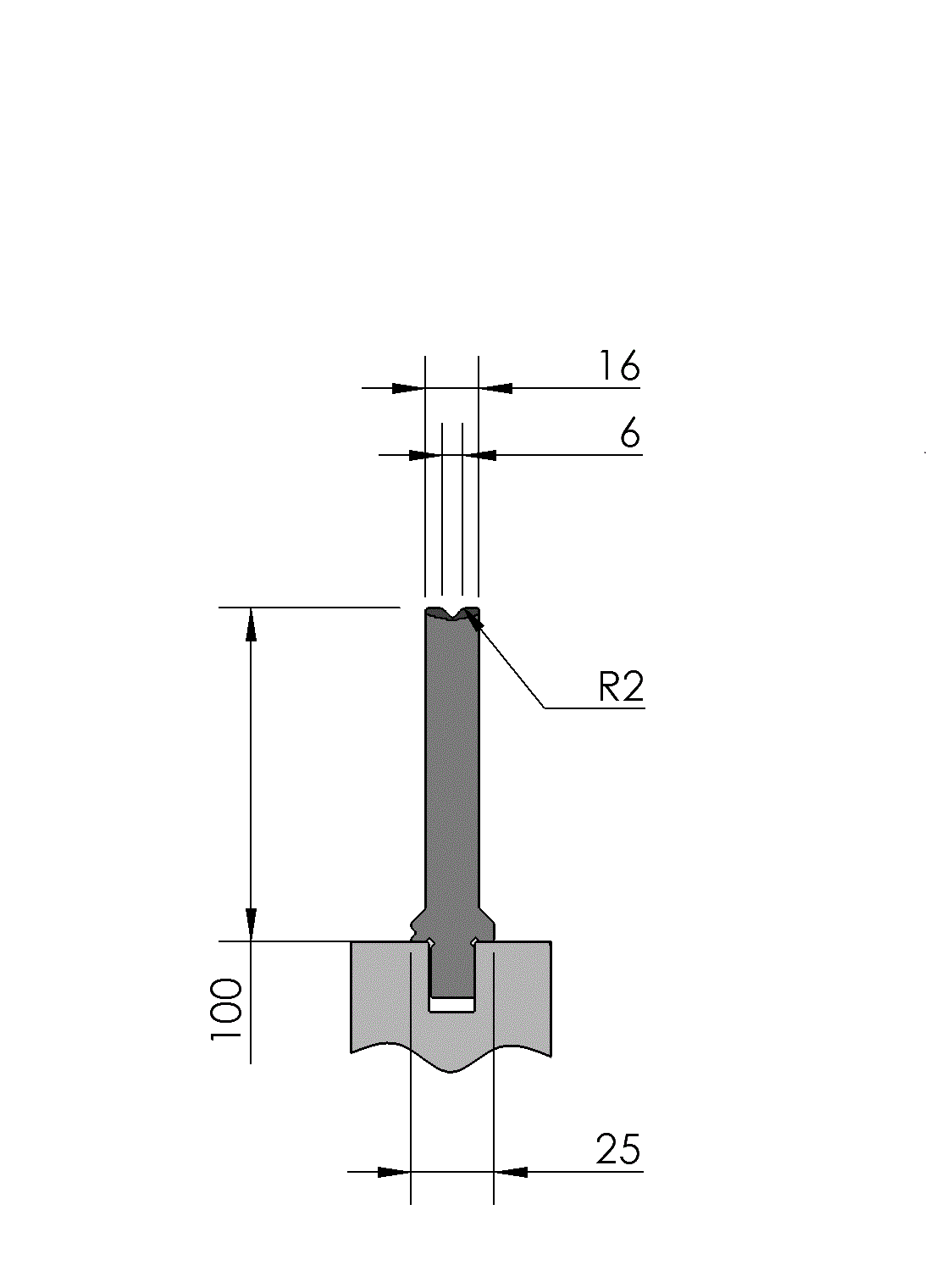
Werk scherpe randen af en verstevig delen van het plaatwerk.
Buigen met een grote verhouding tussen radius en materiaaldikte.
Voorkom of verminder aftekening op het oppervlak van gezet plaatwerk.
Twee gelijke maar tegengestelde buigingen maken in één slag.
Bewerk uw plaatmateriaal met de gewenste buigmethode.
Alle toepassingen
Alles wat u altijd al heeft willen weten over kanten van plaatmateriaal.
Lees meerHet lijkt erop dat deze pagina niet meer beschikbaar is.
WILA is al sinds 1932 actief in de industrie. Met onze innovatieve, hoogwaardige gereedschappen en gereedschapssystemen zijn we wereldleider geworden op het gebied van kantpersproductiviteit.
Lees meer
WILA-dealers hebben alle benodigde kennis en expertise om uw kantpersgereedschapsbehoeften te ondersteunen. Er is altijd een WILA-dealer bij u in de buurt.
Vind uw lokale dealer