Zoeken
Meest gezocht
Terug

OZU-336 NS ATC

OZU-336 NS ATC

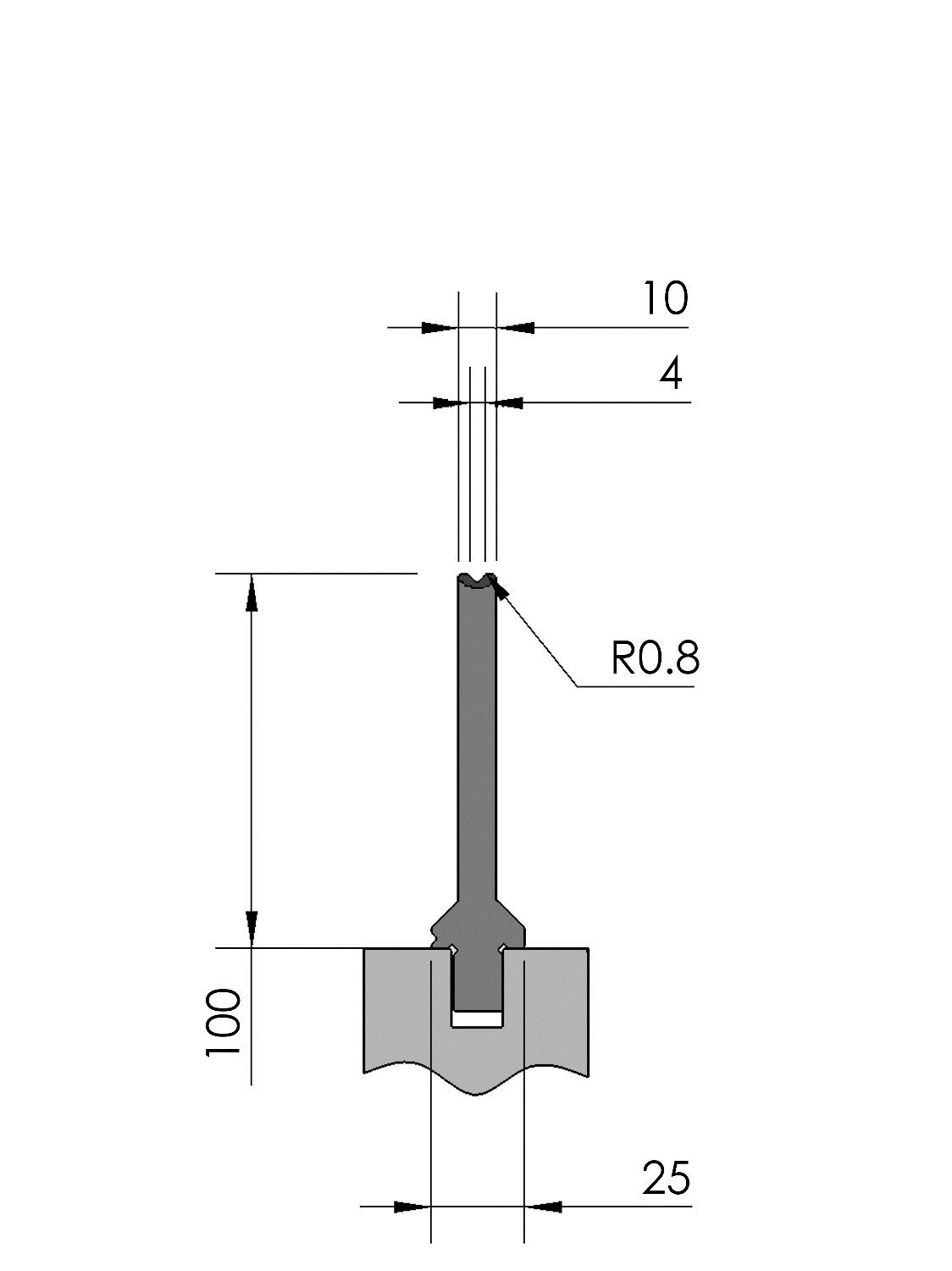
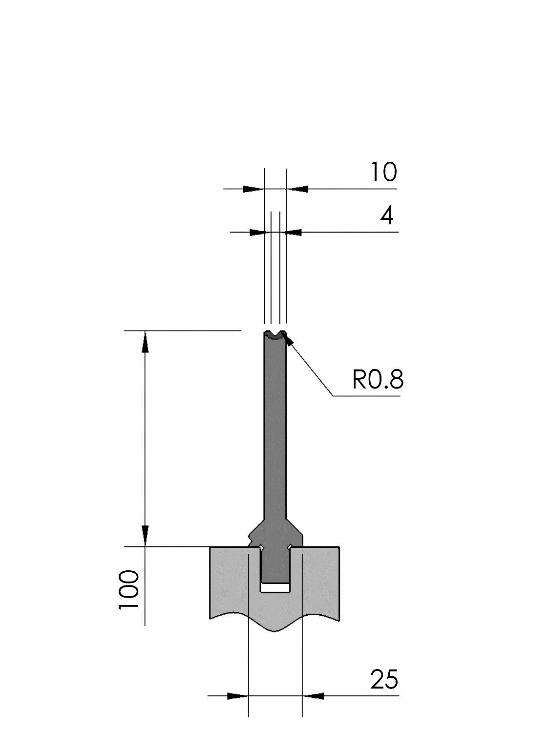
New Standard Premium Bottom Tool NS ATC
  • Werkhoogte = 100mm
  • V-opening = 4mm/86°
  • Radius = 0.8mm
  • CNC-diepgehard® (≥ 4mm / 56-60HRC)
  • Max. belasting = 45ton/m
  • Voorzien van WILA New Standard ATC

Beschrijving

New Standard Premium ondergereedschap voorzien van WILA New Standard ATC, met Werkhoogte=100mm, V-opening=4mm/86°, Buigradius=0.8mm CNC-diepgehard® (minimaal 4mm / 56-60HRc), Materiaal=CR-MO
Max. belasting = 45ton/m.

Downloads

Dank u wel voor uw interesse!

Laat uw e-mailadres achter en we sturen u meteen een downloadlink. Of registreer u voor MyWILA en u krijgt direct toegang tot alle online content van WILA.

Downloaden als gast Log in
Heeft u al een account? Log in